
| Entidad | Entidad del meta-modelo | Documentacion |
|---|---|---|
|
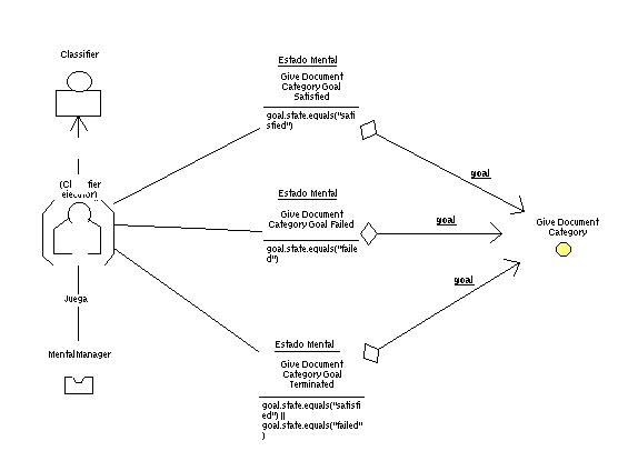
Classifier | Agente | It represents the agent which manages the Classifier and makes the operations over the categories. |
|
(Classifier ejecutor) | AgenteConcreto | |
|
Give Document Category Goal Failed | EstadoMentalCondicionado | The Give Document Category goal has been failed. |
|
Give Document Category Goal Satisfied | EstadoMentalCondicionado | The Give Document Category goal has been satisfied. |
|
Give Document Category Goal Terminated | EstadoMentalCondicionado | The Give Document Category goal has been terminated, either satisfied or failed. |
|
Give Document Category | Objetivo | A category has to be provided to a document under request. The Categorizer assigns a category to the Document. The category could be obtained automatically or, if it is not possible, it will be asked to the user. |
|
MentalManager | Rol | It makes the necessay actions over the agent mental entities to allow the cleaning of mental states and the maintaining of cyclic goals. |
| ID | Classifier  |
| Descripcion | It represents the agent which manages the Classifier and makes the operations over the categories.  |
| En el rol | En la relacion | Otros extremos | ||||
|---|---|---|---|---|---|---|
| RInstanciaDeD | InstanciaDe |
|
| ID | (Classifier ejecutor)  |
| En el rol | En la relacion | Otros extremos | ||||
|---|---|---|---|---|---|---|
| ATieneEstadoMentalOR | ATieneEstadoMental |
| ||||
| ATieneEstadoMentalOR | ATieneEstadoMental |
| ||||
| ATieneEstadoMentalOR | ATieneEstadoMental |
| ||||
| RinstanciaDeO | InstanciaDe |
| ||||
| WFJuegaOR | WFJuega |
|
| ID | Give Document Category Goal Failed  |
| Descripcion | The Give Document Category goal has been failed.  |
| Descripcion | goal.state.equals("failed")  |
| En el rol | En la relacion | Otros extremos | ||||
|---|---|---|---|---|---|---|
| AContieneEntidadMentalOR | AContieneEntidadMental |
| ||||
| ATieneEstadoMentalDR | ATieneEstadoMental |
|
| ID | Give Document Category Goal Satisfied  |
| Descripcion | The Give Document Category goal has been satisfied.  |
| Descripcion | goal.state.equals("satisfied")  |
| En el rol | En la relacion | Otros extremos | ||||
|---|---|---|---|---|---|---|
| AContieneEntidadMentalOR | AContieneEntidadMental |
| ||||
| ATieneEstadoMentalDR | ATieneEstadoMental |
|
| ID | Give Document Category Goal Terminated  |
| Descripcion | The Give Document Category goal has been terminated, either satisfied or failed.  |
| Descripcion | goal.state.equals("satisfied") || goal.state.equals("failed")  |
| En el rol | En la relacion | Otros extremos | ||||
|---|---|---|---|---|---|---|
| AContieneEntidadMentalOR | AContieneEntidadMental |
| ||||
| ATieneEstadoMentalDR | ATieneEstadoMental |
|
| ID | Give Document Category  |
| Descripcion | A category has to be provided to a document under request. The Categorizer assigns a category to the Document. The category could be obtained automatically or, if it is not possible, it will be asked to the user.  |
| En el rol | En la relacion | Otros extremos | ||||
|---|---|---|---|---|---|---|
| AContieneEntidadMentalDR | AContieneEntidadMental |
| ||||
| AContieneEntidadMentalDR | AContieneEntidadMental |
| ||||
| AContieneEntidadMentalDR | AContieneEntidadMental |
|
| ID | MentalManager  |
| Descripcion | It makes the necessay actions over the agent mental entities to allow the cleaning of mental states and the maintaining of cyclic goals.  |
| En el rol | En la relacion | Otros extremos | ||||
|---|---|---|---|---|---|---|
| WFJuegaDR | WFJuega |
|